摩擦磨損試驗機是研制開發各種中高檔系列液壓油、內燃機油、齒輪機油必需的模擬評定測試試驗機,根據摩擦運動方式可分為:線性往復摩擦磨損試驗機,高速線性往復摩擦磨損試驗機(振動摩擦磨損試驗機),旋轉摩擦磨損試驗機,高速旋轉摩擦磨損試驗機,線性旋轉組合摩擦磨損試驗機,市場上比較多的是 用于油品摩擦的 四球摩擦磨損試驗機 微機控制電液伺服摩擦磨損試驗機用于評定潤滑油、潤滑脂的長時抗磨損性能,以及金屬材料的摩擦磨損性能的 立式萬能摩擦磨損試驗機以滑動摩擦形式,在浸油潤滑條件下,評定各種潤滑劑的潤滑性能的環塊摩擦磨損試驗機測量材料溫升、摩擦系數等數值的 高溫端面摩擦磨損試驗機 屏顯示端面摩擦磨損試驗機。
試樣的待磨層與摩擦紙,在荷重摩擦體的作用下,以規定的速度相互摩擦。通過測量摩擦前后密度的減少量(或涂層厚度的減少量),來判斷墨層(或涂層)的耐磨性。
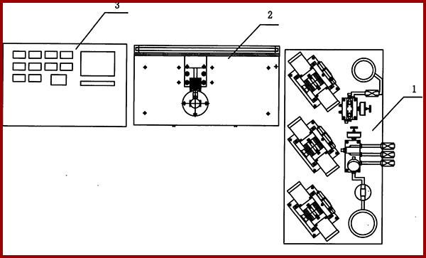
摩擦試驗機結構原理采用微電腦控制、LCD動態顯示、機電一體化原理,進行設定的摩擦試驗。試驗前將試驗標準要求的、或操作者自定的摩擦次數輸入控制系統,試驗則可實現自動控制,并在每次試驗結束后蜂鳴提示。控制系統具有斷電記憶功能,即每次重新上電后,保持上次斷電前輸入的參數狀態。執行機構采用高精度齒輪減速微型電動機驅動摩擦體進行直線往復摩擦運動。
在保養時首先試驗機各部應經常擦拭干凈,以防生銹。不用時用機衣罩起以防塵土侵入,注意防曬。主要注意以下幾點:
●注意不要讓油污和塵土進入到電器控制箱內。
● 附件及備件不用時,應整齊放入相應的附件箱中,易生銹的零部件應涂防銹油。
● 接通電源,檢查電源是否正常,若正常,進行第二步操作,若不正常,檢查供電電源及強電板上的空氣開關是否已接通。
● 查看主軸軸旋轉方向是否正確,該試驗機的主軸不可逆轉,既從上往下看是主軸為順時針旋轉。 ● 安裝試樣,具體安裝方式可參照圖。
●預置的數時停止。在加荷過程中,如果按下暫停鍵,則停止施加試驗力。
●溫度控制單元的操作 詳見隨機攜帶的溫控表使用說明書。
● 記錄系統 連接計算機,可以記錄摩擦力-時間、溫度-時間曲線,使用方法祥見"計算機軟件使用說明書"。
●試驗機應每隔1-2年檢驗一次,以保證各項指標的正確性。
● 對于不明確的故障發生時,用戶應及時向我廠聯系,以便妥善解決。

以上就是關于摩擦磨損試驗機整理的相關資料,如果您還有其它的問題,可以關注后期的相關文章,或者直接來電咨詢工程師為您解答。